Plaques de calibration de la vision

EYE+ est fourni avec une plaque de calibration spécifique à la taille de votre Asycube.

../../_images/calibration_plates.png

Fig. 28 Plaque de calibration pour Asycube 50 à 530

../../_images/calibration_plates_clean.png

Fig. 29 Plaque de calibration pour Asycube Clean 230

Utilisation

La plaque de calibration de la vision est utilisée pour effectuer la configuration de la caméra, c’est-à-dire :

  • Vérifier l’orientation de la caméra.

  • Définir la région d’intérêt (Region of Interest ROI).

  • Afficher les informations en millimètres/pouces plutôt qu’en pixels dans l’interface.

  • Corriger la distorsion de l’objectif.

Montage de la plaque de calibration de la vision

Suivez ces deux étapes pour monter la plaque de calibration de la vision :

  1. Retirez la plateforme de l’Asycube.

  2. Placez-y la plaque de calibration de la vision.

Une fois que votre plaque de calibration de la vision est montée, veuillez vous assurer que :

  • La plaque de calibration de la vision est à l’horizontale.

  • La plaque de calibration de la vision n’a pas de jeu.

  • La plaque de calibration de la vision est montée dans le bon sens : le logo Asyril doit être orienté vers le haut.

Important

Les plaques de calibration de la vision de l’Asycube 380/530 doivent être fixées à l’aide des vis situées dans chaque coin.

Asycube 50/80

../../_images/unmounting_plate50.png

Fig. 30 Procédure pour retirer la plateforme de l’Asycube 50/80

../../_images/mounting_plate50.png

Fig. 31 Procédure de montage de la plaque de calibration de la vision sur l’Asycube 50/80

Asycube 240

../../_images/unmounting_plate240.png

Fig. 32 Procédure pour retirer la plateforme de l’Asycube 240

../../_images/mounting_plate240.png

Fig. 33 Procédure de montage de la plaque de calibration de la vision sur l’Asycube 240

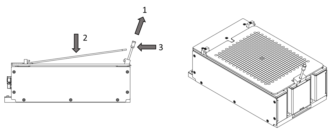
Asycube 380/530

../../_images/unmounting_plate380_530.png

Fig. 34 Procédure pour retirer la plateforme de l’Asycube 380/530

../../_images/mounting_plate_380_530.png

Fig. 35 Procédure de montage de la plaque de calibration de la vision sur l’Asycube 380/530

Asycube Clean 230

../../_images/unmounting_plate_clean230.png

Fig. 36 Procédure pour retirer la plateforme de l’Asycube Clean 230

../../_images/mounting_plate_clean230.png

Fig. 37 Procédure de montage de la plaque de calibration de la vision sur l’Asycube Clean 230