ビジョンキャリブレーションプレート

EYE+ には、アジキューブのサイズに合わせたキャリブレーションプレートが付属しています。

../../_images/calibration_plates.png

図 28 Asycube 50 ~ 530 用キャリブレーションプレート

../../_images/calibration_plates_clean.png

図 29 Asycube Clean 230 用キャリブレーションプレート

目的

ビジョンキャリブレーションプレートは、次のようなカメラの設定を行うために使用します。

  • カメラの向きを確認します。

  • 関心領域(ROI)を定義します。

  • ピクセル単位ではなく、ミリ/インチ単位でインターフェース上に情報を表示します。

  • レンズの歪みを補正します。

ビジョンキャリブレーションプレートの取り付け

ビジョンキャリブレーションプレートを取り付けは、次の2つのステップがあります。

  1. アジキューブからアジキューブプレートを取り外します。

  2. ビジョンキャリブレーションプレートをセットします。

ビジョンキャリブレーションプレートを取り付けた後に、次の点を必ず確認してください。

  • ビジョンキャリブレーションプレートが水平に取り付けられている。

  • ビジョンキャリブレーションプレートには遊びがない。

  • Asyril SA 社のロゴは上を向いていて、ビジョンキャリブレーションプレートが正しい方向に取り付けられている。

重要

Asycube 380/530 は、ビジョンキャリブレーションプレートの各コーナーを蝶ネジで締め付けてください。

Asycube 50/80

../../_images/unmounting_plate50.png

図 30 Asycube 50/80 プレートの取り外し方法

../../_images/mounting_plate50.png

図 31 Asycube 50/80 のビジョンキャリブレーションプレートの取り付け方法

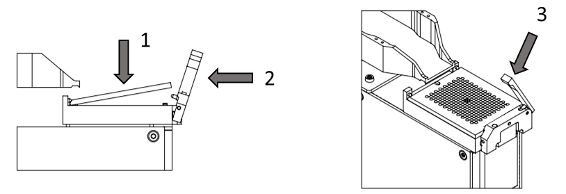
Asycube 240

../../_images/unmounting_plate240.png

図 32 Asycube 240 プレートの取り外し方法

../../_images/mounting_plate240.png

図 33 Asycube 240 のビジョンキャリブレーションプレートの取り付け方法

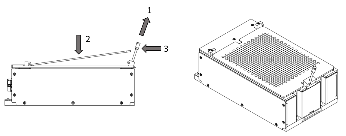
Asycube 380/530

../../_images/unmounting_plate380_530.png

図 34 Asycube 380/530 プレートの取り外し方法

../../_images/mounting_plate_380_530.png

図 35 Asycube 380/530 のビジョンキャリブレーションプレートの取り付け方法

Asycube Clean 230

../../_images/unmounting_plate_clean230.png

図 36 Asycube Clean 230 プレートの取り外し方法

../../_images/mounting_plate_clean230.png

図 37 Asycube Clean 230 のビジョンキャリブレーションプレートの取り付け方法