Warning

You are reading an old version of this documentation. If you want up-to-date information, please have a look at 5.4 .

Vision calibration plates

EYE+ is supplied with a calibration plate specific to your Asycube size.

../../_images/calibration_plates.png

Fig. 28 Calibration plate for Asycube 50 to 530

../../_images/calibration_plates_clean.png

Fig. 29 Calibration plate for Asycube Clean 230

Purpose

Vision calibration plate is used to perform the camera configuration that will:

  • Check the camera orientation.

  • Define the region of interest (ROI).

  • Display information in millimeters/inches rather than pixels in the interface.

  • Correct distortion of the lens.

Mounting vision calibration plate

Follow these two steps to mount the vision calibration plate:

  1. Remove Asycube plate from the Asycube.

  2. Place the vision calibration plate.

Once your vision calibration plate is mounted, please make sure that:

  • The vision calibration plate is flat.

  • The vision calibration plate has no play.

  • The vision calibration plate is mounted in the correct orientation: the Asyril logo must face upwards.

Important

The Asycube 380/530 vision calibration plates must be tightened using the screws in each corner.

Asycube 50/80

../../_images/unmounting_plate50.png

Fig. 30 Procedure to remove Asycube 50/80 plate

../../_images/mounting_plate50.png

Fig. 31 Procedure to mount the vision calibration plate on Asycube 50/80

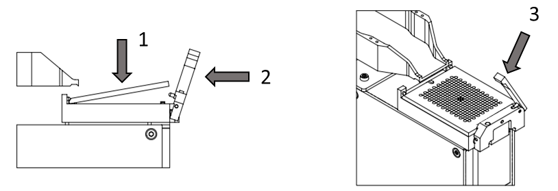
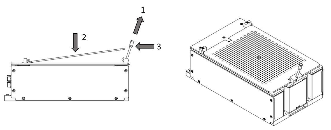
Asycube 240

../../_images/unmounting_plate240.png

Fig. 32 Procedure to remove Asycube 240 plate

../../_images/mounting_plate240.png

Fig. 33 Procedure to mount the vision calibration plate on Asycube 240

Asycube 380/530

../../_images/unmounting_plate380_530.png

Fig. 34 Procedure to remove Asycube 380/530 plate

../../_images/mounting_plate_380_530.png

Fig. 35 Procedure to mount the vision calibration plate on Asycube 380/530

Asycube Clean 230

../../_images/unmounting_plate_clean230.png

Fig. 36 Procedure to remove Asycube Clean 230 plate

../../_images/mounting_plate_clean230.png

Fig. 37 Procedure to mount the vision calibration plate on Asycube Clean 230